MENÜ
  • +90 546 773 87 83
  • +90 216 384 90 71
  • info@invenerji.com

SIKÇA SORULAN SORULAR

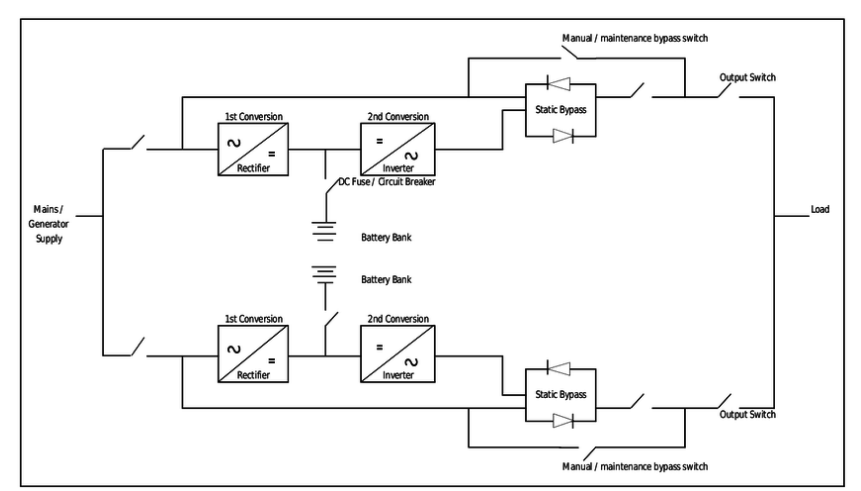
UPS’lerin paralel (güç arttırımlı) ve yedekli çalışması ne demektir?

Birden fazla UPS birbiri ile haberleşerek bir çok farklı senkron kaynak elde edilir, bu kaynakların çıkışları ortak bağlanarak tüm sistemlerin hepsinden eşit güç çekilir, böylece kurulu UPS gücü de arttırılmış olur.

N+1 çalışma:

Kullanılan UPS gücünün ,toplam kurulu UPS’nin gücünden 1(bir) UPS gücü düşük olması ile sağlanır .Böylece 1(bir) UPS devre dışı kalsa dahi sistem kritik yükleri beslemeye devam edecektir.En az 2 (iki) UPS kullanılır.
Örnek olarak :
UPS A Gücü: 80 kVA
UPS B Gücü: 80 kVA
Toplam Çekilen Güç : 80 kVA
UPS Başı Çekilen Güç : 40 kVA
Her iki UPS’de %50 kapasitede çalışmalıdır.

N+2 çalışma:

Kullanılan UPS gücünün ,toplam kurulu UPS’nin gücünden 2(iki) UPS gücü düşük olması ile sağlanır .Böylece 2(iki) UPS devre dışı kalsa dahi sistem kritik yükleri beslemeye devam edecektir.En az 3 (üç) UPS kullanılır.
Örnek olarak :
UPS A Gücü: 80 kVA
UPS B Gücü: 80 kVA
Toplam Çekilen Güç : 80 kVA
UPS Başı Çekilen Güç : 40 kVA
Her iki UPS’de %50 kapasitede çalışmalıdır.

Kaskat Bağlantı:

İki UPS, bir UPS’nin yükü besleyeceği diğer UPS’nin statik anahtara giriş yapılarak elde edilir.Yükü besleyen UPS arızalandığı durumda by-pass çalışmaya geçeceği var sayılarak süreklilik sağlanması düşünülmüştür.